一㊙️路向西快播种子🌈西安秦申高加正常/危急疏水閥在2*660MW超超臨界機組的大量應用-大庆安霸装备制造有限公司
您好,一路向西快播㊙️种子🌈歡迎訪(fǎng)問大庆安霸装备制造有限公司官方網站(zhan)
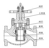
西安秦申高(gāo)加正常/危急(ji)疏水閥在2*660MW超(chāo)超臨界機組(zǔ)的👌大量應用(yòng)
發布時間:2025-12-06
总 公 司急 速 版WAP 站H5 版无线端AI 智能3G 站4G 站5G 站6G 站
·
·
·